Hace unos días leía una entrevista a José Ignacio Murillo, investigador del ICS y profesor de Filosofía de la Universidad de Navarra, lógicamente de la pandemia de coronavirus, en la que afirmaba que «si no nos conformamos con sobrevivir o pasar el tiempo apaciblemente, sino que buscamos activamente mejorar nosotros y nuestra relación con quienes nos rodean, resulta más fácil convertir los imprevistos en oportunidades”. Además, en relación a cómo no iba a influir en el futuro, reflexionaba «De seguro que muchos incorporaremos conocimientos que, hasta este momento, parecían prescindibles y, ahora en cambio, no. Incluso, tal vez, nos acabemos acostumbrando a posibilidades que la necesidad nos ha hecho descubrir«. Y dándole vuelta al asunto, me acordé de algunas patentes, completamente estúpidas, que igual ahora, en un escenario completamente nuevo, se podrían recuperar. Aviso a navegantes, esto no es producto de mi imaginación, cada una de ellas va con su número de patente y registro.
Mascarilla. (Artur Porta i Contreras y Eva M. Orugo Ruiz – 2004- Nº Patente ES1056415 U)
Diseñado como preservativo para sexo oral, se podría adaptar para utilizarlo de mascarilla. Simplemente habría que hacer coincidir el punto 8 (en el producto original para la lengua) con la nariz.
Tapabocas. (Moira J. Figone – 1989- Nº Patente US4834212 A)
Dispositivo inventado para esos momentos en los que hay que gritar sí o sí y desahogarse (se amortigua el sonido y así no molesta), se podría acondicionar como tapabocas.
Máscara facial. (David Shichman – 1993- Nº Patente US5214803 A)
Registrado como campana-capucha para protegerse de humos y gases nocivos, también se podría utilizar como máscara facial completa.
Sombrero distribuidor de bebidas. (Flann RANDALL – 1999 – Nº Patente WO 9939598)
A falta de bares abiertos, este sombrero expendedor de todo tipo de bebidas (algo parecido he visto en las fiestas de mi pueblo). Además, se puede tunear para añadir calefacción o audio.
Sexo seguro. (Prokić STEVAN – 1990 – Nº Patente FR 2640874)
Dispositivo de protección contra las enfermedades de transmisión sexual (y si le añades guantes y mascarilla también el coronavirus), consistente en una cubierta exterior de un material plástico flexible, preferiblemente transparente, que cubre casi todo el cuerpo (incorpora preservativo reutilizable)
Seguridad al volante. (Li Ming Tseng – 1997- Nº Patente US5628062 A)
Manguitos protectores de la radiación solar (mientras conduces) que pueden servir para evitar contagios, sobre todo para vehículos conducidos por varias personas.
Versión profesionales. (George V. Rael – 1994- Nº Patente US5357633 A)
Para los que les gusta conducir con un brazo en la ventanilla
¿Harto de comer? (Lucy L. Barmby – 1982- Nº Patente US4344424 A)
Solución extrema para evitar el sobrepeso en el confinamiento. Es efectivo 100% si la llave del candado la tiras por la ventana.
Teletrabajo (Varios – 2000- Nº Patente US6021535 A)
Teletrabajo cómodo y ergonómico (lo de ir en pijama es opcional)
Pasear mascotas. (Donald R. Martin – 2002- Nº Patente US6490999 B1)
Si tu mascota es una serpiente o culebra…
Escalera «spider» para la bañera. (Doughney Edward Thomas Patrick – 1994 – Nº Patente GB2272154)
Si se te ha metido una araña en la bañera (para ella es una prisión) y no puede venir el fumigador, con esta escalera, que fijaremos con una ventosa (5) en la parte superior de la bañera, podrá salir ella sola.
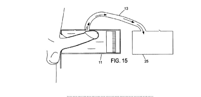
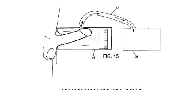
Comunicación con los vecinos. (Sam Kupperman y Denis Kupperman – 1980- Nº Patente US4195707 A)
Pues sí, está patentado. Se nos adelantaron estos ingenieros de telecomunicaciones (espero que la carrera les sirviese para algo más)
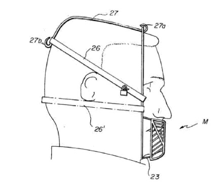
Respirar aire fresco. (William O. Holmes – 1982- Nº Patente US4320756 A)
Aunque está diseñado para poder respirar en caso de incendios hasta ser rescatado, se puede utilizar para confinamientos extremos sin aire fresco.
Guantes para enamorados. (King Terence David – 1990 – Nº Patente GB 2221607)
Para parejas de enamorados que durante el invierno quieren ir de la mano y seguir sintiendo la piel de su amado.¡¡¡OJO!!! Esta solo la incluyo para indicar que las Autoridades Sanitarias han prohibido su uso en estos momentos.
Y si ya os cansáis de las recomendaciones que os envían por whatsapp y queréis algo diferente para pasar el rato en casa….
Autopateador. (John W. Armstrong – 2001- Nº Patente US6293874 B1)
Si eres de los que les gusta que le pateen el culo o un poco masoca…
Volumen del pene. (Jason E. Turner – 2006- Nº Patente US7147609 B2)
Dicen que el tamaño no importa… ¿Y el volumen? Medidor del volumen del pene basado en el Principio de Arquímedes (todo cuerpo sumergido en un fluido experimenta un empuje vertical y hacia arriba igual al peso de fluido desalojado)
Matamoscas. (John Richard Daugherty – 2009- Nº Patente US7484328 B1)
Para eso molestos insectos que ya empiezan a incordiar

Y para terminar, y no por ello menos curioso, Circular Transportation Falicitation Device. (John Michael Keogh – 2001 – Nº Patente AU2001100012 A4).
Efectivamente, la rueda. El abogado australiano John Michael Keogh patentó la rueda, no para lucrarse, sino para llamar la atención sobre la ley de patentes de su país que permitía que se registrasen solo con demostrar «innovación», y no necesariamente una invención. Y como nunca antes nadie había registrado este «invento», pues lo hizo. Esta «llamada de atención» sirvió para modificar la ley. De no haberlo hecho, supongo que lo siguiente habría sido el fuego.
Si queréis encontrar alguna más, aquí os dejo un buscador: Patent Search
Fuente: Patentes increíbles – Ángel Menéndez Díaz

















[…] entrada Patentes estúpidas que «habría que recuperar» en tiempos del coronavirus se publicó primero en Historias de la […]
Me gusta¡¡ Es muy divertido, y útil¡
Buenísimo Javier, pero falta algo: al autopateador habría que adaptarlo a propulsión nuclear para patear políticos y dirigentes, que son los que se durmieron y nos metiron en este cornudovirus. Una maestra pergunta: niños, ¿qué es una DIsolución? un párvulo contesta: poner dos políticos en ácido. ¡Muy bien! dice la docente, pero entonces: ¿Qué sería una SOLUCIÓN? ¡¡¡¡Ponerlos a todos señorita!!!!!!!!!!!!!!!!! Un abrazo desde el c… del mundo. René
Quise poner «pregunta», im sorry
Buena SOLUCIÓN… jajajaja
Muy bueno
Muchos de estos «inventos» se patentaron durante la guerra para evitar que una posible victoria nazi llevase a que los niños y gente de «a pie» pudiese usarlos como entretenimiento.
Véase por ejemplo el teléfono con 2 yogures.
Me gusto mucho el post.